• Ürün Kodu: 3411043
  • Yorum Yap
  • Marka: MARINE TOWN
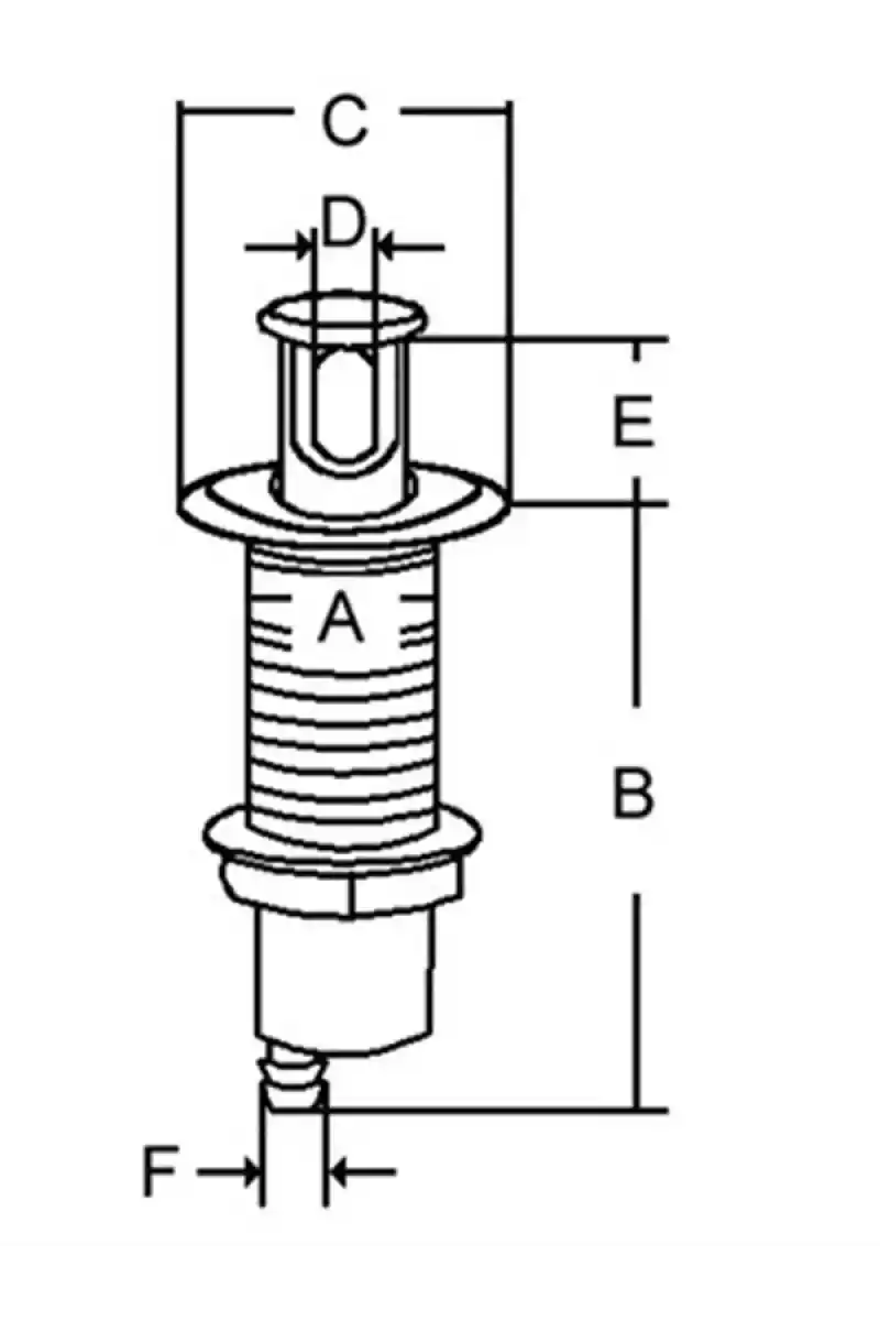
  • Paslanmaz Çelik Usturmaça Tutucu

  • %7indirim
    8.049 TL
    7.486 TL
    KARGO BEDAVA
  • Havale/EFT ile 7.261 TL
Hızlı Gönderi
Güvenli Alışveriş
İade ve Değişim